?BLM57050-1000電機現貨供應:高性價比伺服升級首選
2025-07-02 16:41:37
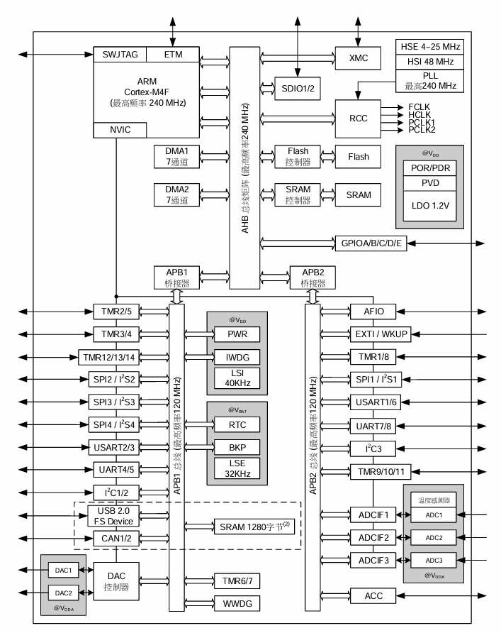
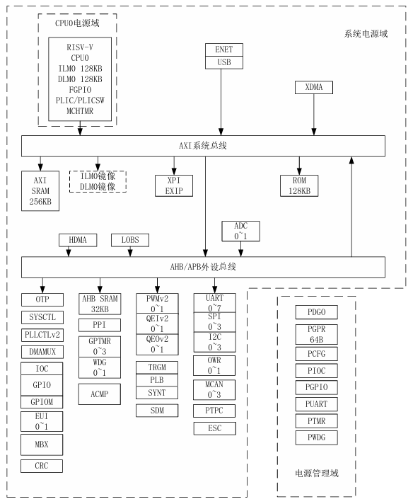
BLM57050 - 1000交流接觸器馬達為雷賽智慧出產的高壓電流無刷步進主軸發電機調節主軸發電機調節驅程器調節器交流接觸器馬達,期貨供給且是高性價步進主軸發電機調節主軸發電機調節驅程器調節器提升最佳選擇。它以相似度高步進主軸發電機調節主軸發電機調節系統的的價值具備步進主軸發電機調節主軸發電機調節驅程器調節器級能,載荷系數最大功率50W,模塊化ACS306驅程器,商品編號器分別率1000線,能無縫對接復制傳統的有刷和步進主軸發電機調節主軸發電機調節交流接觸器馬達,是不是先楫半導體技術中國官方網站網友推薦于其高能RISC - V MCU(如HPM6750)建設板交流接觸器馬達調節庫多媒體演示的參數。